Varianty zapojení PromoBox Clienta

Z PromoBoxTV Wiki
Přejít na: navigace, hledání

1. Zapojení se spínacími hodinami

Umožňuje automatické zapnutí spínacími hodinami, automatické vypnutí časovačem uvnitř PromoBox Clienta.

Pbx-client-schema.png

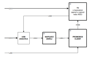
2. Zapojení s USB zásuvkou

Umožňuje zapínání dálkovým ovladačem TV (nebo časovačem v TV), automatické vypnutí časovačem uvnitř PromoBox Clienta.

Pbx-client-irdo.png